轴承型号查询 > 51112推力球轴承
51112推力球轴承
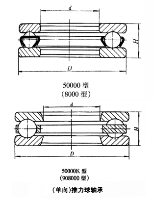
推力球轴承类型介绍
推力球轴承是分离型轴承,根据其结构形式分为单向推力球和双向推力球轴承。单向推力球轴承可承受一个方向的轴向载荷,双向推力球轴承可承受两个方向的轴向载荷。它们均不能承受径向载荷。推力球轴承还有带座垫的结构,由于座垫的安装面呈球面形,故轴承具有调心性能,可以减少安装误差的影响。推力球轴承主要应用于汽车、机床等行业。
51112相关型号
51112相关供货
型号供应商
-
上海领峰者机电设备有限公司是一家以销售进口和国产轴承、......主营:深沟球轴承/调心球轴承/...
-
欧盼润滑油轴承销售中心主要销售各种进口轴承和国产轴承,类型有......主营:深沟球轴承/ 调心球轴承...
-
邯郸市中商传动科技有限公司以致力于汽车零部件的国产化为己任,......主营:深沟球轴承/ 调心球轴承...
-
精钢轴承从事批发轴承. 自精钢轴承成立以来,一直从事“杭州......主营:深沟球轴承/调心球轴承/...
-
杭州巴特轴承制造有限公司,位于美丽的人间天堂中国杭州,在长三......主营:深沟球轴承/ 调心球轴承...



浙公网安备 33010602003658号